產品介紹
1.小型輕量,安全可靠:日立款環鏈電動葫蘆自上市以來,已有20多年歷史,經驗豐富、技術水平高,深受用戶歡迎。
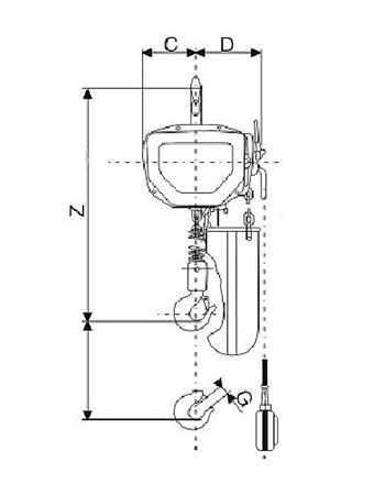
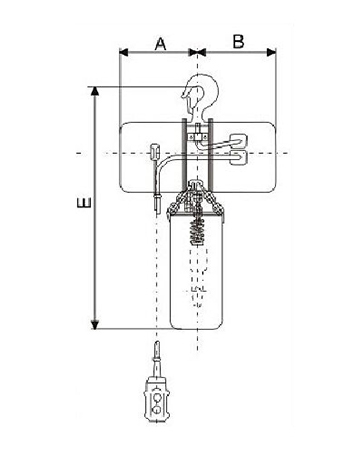
2.耐磨性特優的承載鏈:安全性方面重要性的零部件承載鏈采用日立公司自行研制的堅韌可靠、耐磨性超凡的強力鏈條。
3.電磁制動器使用壽命長:支承載荷用的制動器采用日立公司開發的盤式電磁制動器,使用壽命可達100萬次以上。
4.采用低壓設計,以防萬一:考慮到萬-漏電事故,以手指觸控的按扭開關的操作電壓,均設計到24V低壓。
5.富有操作性的整體式按扭用電纜:采用緊強可靠的保護鋼絲整體式按扭用電纜,便于使用,不妨礙機器的操作。增強塑料制承載鏈收存容器,強韌耐用。


| 日立款電動葫蘆參數表 | |||||||||
| 型號 | 起重量 | 起升高度 | 鏈條規格 | 電壓 | 電機功率 | 起升速度 | 重量 | 跑車電機功率 | 適用工字鋼寬度 |
| HHBD1-1 | 1t | 4m | 7.1mm | 380v | 1.1kw | 4.6m/min | 45kg | 0.4kw | 52-153mm |
| HHBD2-2 | 2t | 4m | 7.1mm | 380v | 1.1kw | 2.3m/min | 55kg | 0.4kw | 82-178mm |
| HHBD3-3 | 3t | 4m | 7.1mm | 380v | 1.1kw | 1.6m/min | 78kg | 0.4kw | 100-178mm |
| HHBD15-5 | 5t | 4m | 7.1mm | 380v | 1.1kw | 0.9m/min | 118kg | 0.75kw | 100-178mm |