產品介紹
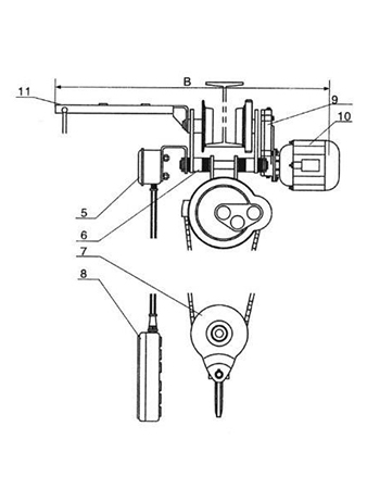
外殼:鋁合金外殼,堅實而質輕。有特色散熱片,散熱快,可連續使用,效率達40%。整體密閉式結構,可使用在化工廠、電鍍廠等地方.
磅磁剎車:新設計的磁力產生器,其特性為產磁??稍陔娫辞袛嗟耐瑫r間剎車,保證吊重時剎車確保安全。極限開關:吊上吊下都有極限開關裝置,使自動停止,防止鏈條超出,確保安全. .
吊鉤:經熱鍛造,強度絕佳,不易斷裂。下吊鉤可360*旋轉 ,附安全舌片,確保操作安全。支撐架:吊重支撐架由兩片鋼板組合,非常堅固。
變壓器: 24V/36V變壓裝置。操作時,萬-漏電,可防止意外事故發生,下雨時,可保證安全使用。電磁接觸器:高效率電磁接觸器,可高頻率使用,沒有問題。
逆相保護裝置:特殊電線裝置,當電源接線錯誤時,控制電路無法動作。
按鈕開關:使用防水按鈕開關。



| CD、MD型系列電動葫蘆技術性能和外形尺寸參數(0.25T-20T) | |||||||||||||||||||||||||||
| 型號 | CD1 MD1 | ||||||||||||||||||||||||||
| 起重量 | 噸 | 0.25 | 0.5 | 1 | 2 | 3 | |||||||||||||||||||||
| 起升高度 | 米 | 3 | 6 | 9 | 6 | 9 | 12 | 6 | 9 | 12 | 18 | 24 | 30 | 6 | 9 | 12 | 18 | 24 | 30 | 6 | 9 | 12 | 18 | 24 | 30 | ||
| 起升速度 | 米/分 | 8 | 8/0.8 | 8/0.8 | 8/0.8 | 8/0.8 | |||||||||||||||||||||
| 運行速度 | 米/分 | 20(30) | 20(30) | 20(30) | 20(30) | 20(30) | |||||||||||||||||||||
| 鋼絲繩 | 繩直徑 | 毫米 | 3.6 | 4.8 | 7.4 | 11 | 13 | ||||||||||||||||||||
| 絲直徑 | 毫米 | 0.22 | 0.34 | 0.5 | 0.6 | ||||||||||||||||||||||
| 結構形式 | 6×9 | D-6×37+1 | D-6×37+1 | D-6×37+1 | D-6×37+1 | ||||||||||||||||||||||
| 工字梁軌道型號(GB76-88) | 16-22b | 16-28b | 16-28b | 20a-32c | 20a-32c | ||||||||||||||||||||||
| 環形軌道最小半徑 | 米 | 0.8 | 1.5 | 1.5 | 2 | 3 | 4 | 2 | 2.5 | 3 | 4 | 2 | 2.5 | 3 | 4 | ||||||||||||
| 起升電動機 | 型號 | ZD12-4 | ZD21-4 | ZD21-4 | ZD31-4 | ZD41-4 | |||||||||||||||||||||
| 容量 | 千瓦 | 0.4 | 0.8 0.2/0.8 | ||||||||||||||||||||||||
| 轉速 | 轉/分 | 1380 | 1380 | 1380 | 1380 | 1380 | |||||||||||||||||||||
| 相數 | 3 | 3 | 3 | 3 | 3 | ||||||||||||||||||||||
| 電壓 | 伏 | 380 | 380 | 380 | 380 | 380 | |||||||||||||||||||||
| 電流 | 安培 | 1.25 | 2.4 0.72/2.4 | 4.3 0.72/4.3 | 7.6 1.25/7.6 | 11 2.4/11 | |||||||||||||||||||||
| 頻率 | 周/秒 | 50 | 50 | 50 | 50 | 50 | |||||||||||||||||||||
| 運行電動機 | 型號 | DW5024 | ZDY11-4 | ZDY12-4 | ZD12-4 | ZDY21-4 | |||||||||||||||||||||
| 容量 | 千瓦 | 0.06 | 0.2 | 0.2 | 0.4 | 0.4 | |||||||||||||||||||||
| 轉速 | 轉/分 | 1400 | 1380 | 1380 | 1380 | 1380 | |||||||||||||||||||||
| 相數 | 3 | 3 | 3 | 3 | 3 | ||||||||||||||||||||||
| 電壓 | 伏 | 380 | 380 | 380 | 380 | 380 | |||||||||||||||||||||
| 電流 | 安培 | 0.3 | 0.72 | 0.72 | 1.25 | 1.25 | |||||||||||||||||||||
| 頻率 | 周/秒 | 50 | 50 | 50 | 50 | 50 | |||||||||||||||||||||
| 工作類型及機構級別 | 中級M3 | 中級M3 | 中級M3 | 中級M3 | 中級M3 | ||||||||||||||||||||||
| 基本尺寸±2% | H | 毫 | 432 | 630 | 670 | 685 | 780 | 860 | 960 | 985 | 1080 | ||||||||||||||||
| L2 | 米 | 216 | 126 | 159 | 187 | 230 | |||||||||||||||||||||
| L1 | 175 | 228/225 | 269/266 | 279 | 341/343 | ||||||||||||||||||||||
| L | C | 391 | 616 | 688 | 760 | 758 | 856 | 955 | 1150 | 1346 | 1542 | 820 | 920 | 1020 | 1220 | 1420 | 1620 | 915 | 1018 | 1121 | 1327 | 1533 | 1738 | ||||
| M | 638 | 710 | 782 | 780 | 878 | 976 | 1172 | 1368 | 1564 | ||||||||||||||||||
| m | 104 | 318 | 390 | 462 | 400 | 499 | 597 | 793 | 989 | 1185 | 418 | 518 | 618 | 818 | 1018 | 1218 | 448 | 551 | 654 | 860 | 1066 | 1272 | |||||
| n | 130 | 190 | 196 | 240 | 264 | ||||||||||||||||||||||
| h | 120 | 124 | 155 | 173 | |||||||||||||||||||||||
| φ | 16.5 | 16.5 | 19 | 25 | 25 | ||||||||||||||||||||||
| B | 279-315 | -884 | -884 | -930 | -930 | ||||||||||||||||||||||
| E | 395 | 490 | 584 | 740 | 848 | ||||||||||||||||||||||
| F | 355/426 | 354/492 | 400/562 | 438/642 | |||||||||||||||||||||||
| 總量±15% | C | 公 | 44 | 44.4 | 44.8 | 120 | 125 | 145 | 145 | 158 | 180 | 195 | 208 | 222 | 235 | 248 | 296 | 320 | 340 | 360 | 280 | 300 | 350 | 380 | 405 | 435 | |
| M | 斤 | 135 | 140 | 160 | 160 | 170 | 200 | 210 | 220 | 230 | 265 | 278 | 326 | 350 | 370 | 310 | 310 | 330 | 380 | 410 | 435 | 465 | |||||
| C固 | 30 | 30.4 | 30.8 | 80 | 85 | 90 | 120 | 120 | 125 | 140 | 150 | 165 | 168 | 180 | 190 | 210 | 230 | 250 | 220 | 235 | 250 | 275 | 300 | 325 | |||
| M固 | 100 | 105 | 110 | 130 | 140 | 145 | 155 | 165 | 180 | 196 | 210 | 220 | 240 | 260 | 280 | 250 | 265 | 280 | 305 | 330 | 355 | ||||||
| CD、MD型系列電動葫蘆技術性能和外形尺寸參數(0.25T-20T) | |||||||||||||||||||||||||||
| 型號 | CD1 | MD1 | CD | NH20-12D | |||||||||||||||||||||||
| 起重量 | 噸 | 5 | 10 | 16 | 20 | 20 | 3 | ||||||||||||||||||||
| 起升高度 | 米 | 6 | 9 | 12 | 18 | 24 | 30 | 9 | 12 | 18 | 24 | 30 | 6 | 9 | 12 | 18 | 24 | 30 | 6 | 9 | 12 | 18 | 24 | 30 | |||
| 起升速度 | 米/分 | 8/0.8 | 7/0.7 | 3.5 3.5/0.35 | 3.5 3.5/0.35 | 5 | 8/0.8 | ||||||||||||||||||||
| 運行速度 | 米/分 | 20(30) | 20(30) | 18 | 20 | 20 | 20(30) | ||||||||||||||||||||
| 鋼絲繩 | 繩直徑 | 毫米 | 15 | 15 | 15 | 17 | 22.5 | 13 | |||||||||||||||||||
| 絲直徑 | 毫米 | 0.7 | 0.7 | 0.7 | 0.8 | 0.6 | |||||||||||||||||||||
| 結構形式 | D-6×37+1 | D-6×37+1 | D-6×37+1 | D-6×37+1 | D-6×37+1 | D-6×37+1 | |||||||||||||||||||||
| 工字梁軌道型號(GB76-88) | 25a-63c | 25a-63c | 45a-63c | 50a-63c | 20a-32c | ||||||||||||||||||||||
| 環形軌道最小半徑 | 米 | 2.5 | 3 | 4 | 5 | 2.5 | 3.5 | 4 | 6 | 9 | 3 | 3.5 | 4.6 | 3 | 3.5 | 4.6 | 2 | 2.5 | 3 | 4 | |||||||
| 起升電動機 | 型號 | ZD41-4 | ZD51-4 | ZD51-4 | ZD51-4 | ZD41-4 | |||||||||||||||||||||
| 容量 | 千瓦 | ||||||||||||||||||||||||||
| 轉速 | 轉/分 | 1380 | 1380 | 1380 | 1380 | 1380 | 1380 | ||||||||||||||||||||
| 相數 | 3 | 3 | 3 | 3 | 3 | 3 | |||||||||||||||||||||
| 電壓 | 伏 | 380 | 380 | 380 | 380 | 380 | 380 | ||||||||||||||||||||
| 電流 | 安培 | 18 2.4/18 | 30 4.3/30 | 30 4.3/30 | 30 4.3/30 | 11 2.4/11 | |||||||||||||||||||||
| 頻率 | 周/秒 | 50 | 50 | 50 | 50 | 50 | 50 | ||||||||||||||||||||
| 運行電動機 | 型號 | ZDY21-4 | ZDY21-4 | ZDY21-4 | ZDY21-4 | ZDY21-4 | |||||||||||||||||||||
| 容量 | 千瓦 | 0.8 | 0.8×2 | 0.8×2 | 0.8×2 | 0.8×2 | 0.4 | ||||||||||||||||||||
| 轉速 | 轉/分 | 1380 | 1380 | 1380 | 1380 | 1380 | 1380 | ||||||||||||||||||||
| 相數 | 3 | 3 | 3 | 3 | 3 | 3 | |||||||||||||||||||||
| 電壓 | 伏 | 380 | 380 | 380 | 380 | 380 | 380 | ||||||||||||||||||||
| 電流 | 安培 | 2.4 | 2.4×2 | 2.4×2 | 2.4×2 | 2.4×2 | 1.25 | ||||||||||||||||||||
| 頻率 | 周/秒 | 50 | 50 | 50 | 50 | 50 | 50 | ||||||||||||||||||||
| 工作類型及機構級別 | 中級M3 | 中級M3 | 中級M2 | 中級M2 | 中級M3 | ||||||||||||||||||||||
| 基本尺寸±2% | H | 毫 | 1160 | 1310 | 1350 | 1600 | 2400 | 985 | 1080 | ||||||||||||||||||
| L2 | 米 | 274 | 303 | 同10t | 230 | ||||||||||||||||||||||
| L1 | 380/377 | 429/820 | 同10t | 341/343 | |||||||||||||||||||||||
| L | C | 1047 | 1157 | 1257 | 1467 | 1677 | 1887 | 1602 | 1783 | 2145 | 2507 | 1869 | 同10t | 915 | 1018 | 1121 | 1327 | 1533 | 1738 | ||||||||
| M | 1059 | 1169 | 1269 | 1479 | 1682 | 1899 | 1969 | 2150 | 2512 | 2874 | 3236 | ||||||||||||||||
| m | 485 | 606 | 695 | 860 | 1115 | 1325 | 949 | 1130 | 1492 | 1854 | 2216 | 949 | 1130 | 1492 | 956 | 1478 | 1605 | 448 | 551 | 654 | 860 | 1066 | 1272 | ||||
| n | 320 | 376 | 376 | 376 | 264 | ||||||||||||||||||||||
| h | 203 | 243 | 41 | 46 | 173 | ||||||||||||||||||||||
| φ | 31 | 37 | 25 | ||||||||||||||||||||||||
| B | -1058 | -1058 | -930 | ||||||||||||||||||||||||
| E | 998 | 1068 | 1335 | 1934 | 848 | ||||||||||||||||||||||
| F | 472/675 | 612 | 1055 | 438/642 | |||||||||||||||||||||||
| 總量±15% | C | 公 | 445 | 470 | 555 | 590 | 630 | 670 | 1010 | 1063 | 1166 | 1263 | 1317 | 280 | 300 | 350 | 380 | 405 | 435 | ||||||||
| M | 斤 | 480 | 505 | 590 | 630 | 660 | 705 | 1100 | 1153 | 1256 | 1353 | 1407 | 310 | 330 | 380 | 410 | 435 | 465 | |||||||||
| C固 | 355 | 375 | 390 | 425 | 460 | 500 | 759 | 807 | 900 | 987 | 1032 | 220 | 235 | 250 | 275 | 300 | 325 | ||||||||||
| M固 | 390 | 410 | 425 | 460 | 500 | 535 | 849 | 897 | 990 | 1077 | 1122 | 250 | 265 | 280 | 305 | 330 | 355 | ||||||||||